餅塊類鍛件的形狀特點是:在水平面上的投影為圓形或平面尺寸相差不大的異形餅塊。形狀簡單的鍛件,可直接用原毛坯模鍛。模鍛前毛坯立放于模中,其高度與直徑之比小于2.5,通常取1.5~2。
當毛坯在模中易于定位且鍛件形狀較簡單,可進行閉式模鍛。形狀復雜的鍛件,需先進行鐓粗或預制坯,而后進行開式模鍛。由于此類鍛件的平面尺寸較大,而摩擦壓力機承受偏擊能力較差,制坯工步需配其他設備來完成。
變斷面復雜形狀的長軸線鍛件的形狀較復雜,斷面形狀和尺寸沿長度方向是變化的,一般都用開式模鍛。由于摩擦壓力機的行程次數較低,比較適宜于模鍛沿長度方向斷面尺寸變化不大,可直接用原毛坯模鍛成形或經彎曲、卡壓等一次的打擊制坯后模鍛成形的鍛件。
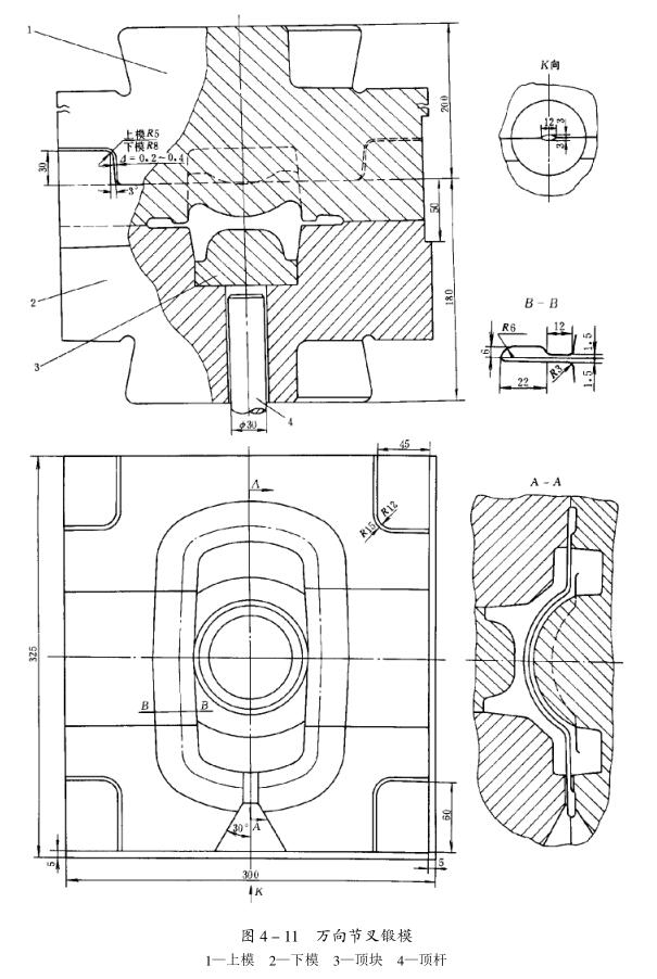
對于斷面尺寸沿長度方向變化較大,需采用打擊次數較多的拔長、滾壓等制坯工步的鍛件,摩擦壓力機只進行終鍛,視批量大小不同,制坯工步放在空氣錘、輥鍛機等其他設備上進行。圖 4-11為在10000kN摩擦壓力機上直接用原毛坯模鍛萬向節叉的鍛模。




